国家军民融合产业投资基金二期成立,注册资本596亿元,37股流通股东现身

37个循环股东出现在国家军事 - 西维利人一体化行业投资基金中。
国家军事融合行业投资基金的第二阶段是建立的
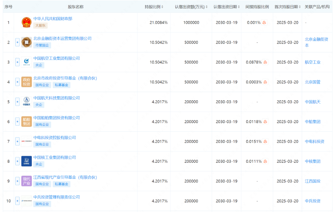
根据Qichacha App的说法,最近建立了国家军事融合行业投资基金有限公司的第二阶段。法律代表是Qu Kebo,注册资本为596亿元人民币。业务范围包括从事股票投资,投资管理,资产管理和其他私募股权基金的活动。
股东信息表明,该公司由中华人民共和国财政部,北京金融街头资本运营集团有限公司,中国航空行业集团有限公司,北京市政府政府投资指导基金(有限的党派)等。同时,股东(例如上市公司,中国造船厂和扬兹证券)也包括在内。
国家军事融合产业投资基金成立于2018年,注册资本为510亿元人民币。最大的股东也是中华人民共和国财政部。
从国家的角度来看,除了上述国家军事 - 维尔维利亚一体化行业投资基金外,在中国还建立了许多用于军事西维利亚融合的工业投资基金,包括圭乌阿军事 - 维时利亚融合产业发展基金,这些基金主要旨在促进军事工业科学和技术成就的转型,并促进大型市场的发展,并促进大型市场发展,并构成了大型社会,并构成了大型企业的发展,并有效地促进了行业的发展,并有效地促进了行业的发展方向有问题的方向发展,并促进了行业的发展范围。并升级军事工业团体,加强军事西维利亚人的深刻整合,并为实施国家战略任务而实施。

国家军事 - 西维利亚一体化行业投资基金出现在37股
根据证券时报和数据库的统计数据,根据2024年第三季度报告的股东信息,有37家公司拥有上市公司的前十名循环股东,这些股东曾出现在国家军事 - 西维利亚一体化行业投资基金中,主要是在国防和军事行业,电力设备,电力,电脑,计算机和其他行业中分布在国防和军事行业,电动机,电脑和其他行业中的。
从股权周期的角度来看,在该时期结束时计算出来的是,新材料已于2020年获得了国家军事 - 西维利一体化行业投资基金的稳定持股。该公司是中国最大的铜板和脱衣舞制造商。该公司积极利用“军事 - 西维利融合”和“参军的平民”的政策机会,以全面发挥作用在将高端热力设备制造技术和新材料制造技术相结合方面的优势。根据稳定高端热设备产品,它逐渐扩展到特殊的复合材料,例如高温合金材料,特殊的功能材料和再制造材料。截至2024年第三季度末,美国国家军事融合行业投资基金是该公司第二大循环股东,股东比率为5.05%,但在第四季度下降。
Aero Engine Power在2021年获得了稳定的持有量。该公司是中国领先的Aero Engine Manufacturing公司,并参与了C919发动机支撑零件产品的生产。截至2024年第三季度末,国家军事融合产业投资基金的股权比率为1.24%。
自2022年以来,AVIC光电学已获得稳定的股份。截至2024年第三季度末,国家军事 - 维时融合行业投资基金的股权比率为0.74%,使其成为公司的第十大循环股东。该公司已经通过了C919大型客机供应商的设计和制造的初步能力审查,并正式成为国内大型客机的支持研究和开发单位之一。该公司的产品应用领域将进一步扩展并进入民航领域。

今年有14个股票增加了10%以上
从市场绩效的角度来看,截至3月24日,自2025年以来,以上37家公司的平均增长了8.15%,14家公司增长了10%以上,Hongda Electronics,Aerospace Intellospaceent Intellostanting和Huaqiang Technology的增长都增长了15%以上。其中,航空航天智能制造业在2024年获得了7.91亿元的净利润,同比增长了86.77%,自上市以来,其净利润却达到了新的高度。
Huaqiang Technology今年增长了约15%,该公司在2024年的净利润增长了202%,自上市以来的净利润增长最高。截至2024年第三季度末,国家军事融合产业投资基金是该公司第三大循环股东。
今年中国的沿海防守量增长了近13%。自2021年以来,该公司已收到国家军事融合行业投资基金的持续股份。其子公司大城市电子产品主要从事水声信息传输设备和各种电子控制系统的开发和生产。特定产品包括各种军事 - 西维利水声信息传输设备,水下武器系统专用设备和其他军事产品。
此外,今年收到了超过160家机构的研究,丘吉安格的新材料增加了10%以上。在最新的研究会议记录中,该公司表示,其子公司Anhui Xinhai High-Drone的“针对新型能源和机器人电子信号通信的超细铜导体工业项目”成功地取得了双重零级超细直径的技术突破性的突破性。直径为0.05-0.08mm(公差±0.001mm)的双重零级超细直径多链多链铜/锡镀铜导体已正式通过了实验室测试,并满足了大型质量生产的条件。


发表评论
◎欢迎参与讨论,请在这里发表您的看法、交流您的观点。